XRT72L50 1-Channel DS3/E3 Framer IC with HDLC Controller

Innovative silicon solutions are a hallmark of Exar's products for the communications markets. Exar offers a full line of multi-channel (1, 2, 3, 4, 6, & 8) framers for DS3/E3 network access applications including network interface units, CSU/DSU equipment, PCM test equipment, fiber optic terminals, and frame relay equipment. These DS3/E3 access control devices meld seamlessly with Exar's industry proven physical-interface components (transceivers and jitter attenuators) offering designers maximum integration and shortened time-to-market. Whatever your design requirement, Exar is the clear choice. Designers have a wide range of Exar framer options that expand their ability to deliver complete system solutions. Devices include the XRT72L50 (single-channel), XRT72L52 (dual-channel), XRT72L53 (triple-channel), XRT72L54 (four-channel), XRT72L56 (six-channel), and the XRT72L58 (eight-channel) products. Each of the devices contain individual HDLC controllers for processing transmit and receive channel payloads. This provides designers with the entire link layer for a frame relay access device in a single-chip and achieve better overall payload management. All devices support full-duplex data flow between the terminal equipment and a transceiver. In addition, they interface with all popular microprocessors. The family will frame data in all standard DS3 and E3 formats: DS3 C-bit parity, DS3 M13, E3 ITU-T G.751 and E3 ITU-T G.832. Also, the devices have a performance monitoring section where a large number of "Reset-upon-Read" and "Read-Only" registers will contain cumulative and "one-second" statistics reflecting the performance and health of the overall IC system.

技术特性
  • HDLC provide higher levels of integration and better payload management
  • All devices accept user data from terminal equipment
  • Low power 3.3V operation
  • Functions over industrial temperature range
  • Pb-Free, RoHS Compliant Versions Offered
应用领域 APPLICATION
  • DS3/E3 frame relay equipment
  • Fiber optic terminals
  • PCM test equipment
  • CSU/DSU equipment
  • Network interface cards
订购信息 Ordering Information
器件型号 有害物质限制 最低温度 最高温度 状态 立刻购买 申请样片
XRT72L50IQTR-F -40 85 Active
XRT72L50IQ-F -40 85 Active
技术指标
频道数量 1
数据传输速率(s) DS3, E3
温度.范围 Ind.
OpPwr Sup/Max Cur 3V ±5%
封装 PQFP-100
Recommended
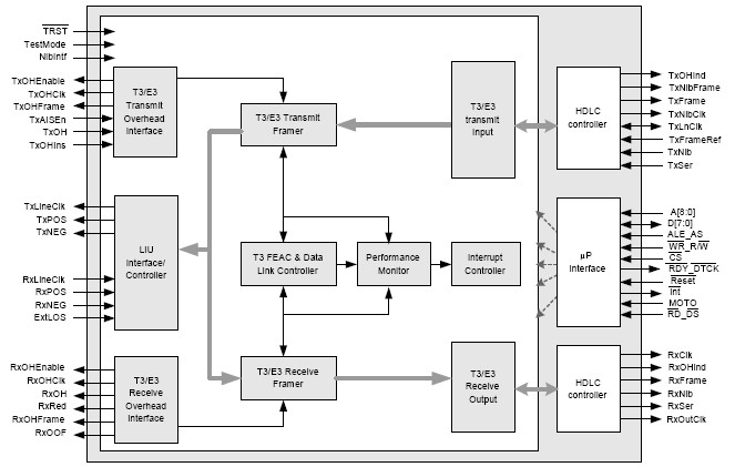
功能框图 Functional Block Diagram

XRT72L50 功能框图

应用技术支持与电子电路设计开发资源下载 版本信息 大小
XRT72L50 数据资料DataSheet下载:pdf Rev.V2 2 页