XRT73LC00A DS3/E3/STS-1 Line Interface Unit
The XRT73L00A DS3/E3/STS-1 Line Interface Unit is designed to be used in DS3, E3 or SONET STS-1 applications and consists of a line transmitter and receiver integrated on a single chip. XRT73L00A can be configured to support the E3 (34.368 Mbps), DS3 (44.736 Mbps) or the SONET STS-1 (51.84 Mbps) rates.
技术特性
- Meets E3/DS3/STS-1 Jitter Tolerance Requirements
- Full Loop-Back Capability
- Transmit and Receive Power Down Modes
- Full Redundancy Support
- Contains a 4-Wire Microprocessor Serial Interface
- Uses Minimum External components
- Requires Single +3.3V Power Supply
- -40°C to +85°C Operating Temperature Range
- Available in a 44 pin TQFP package
- Pb-Free, RoHS Compliant Versions Offered
应用领域 APPLICATION
- Interfaces to E3, DS3 or SONET STS-1 Networks
- CSU/DSU Equipment
- PCM Test Equipment
- Fiber Optic Terminals
- Multiplexers
订购信息 Ordering Information
| 器件型号 |
有害物质限制 |
最低温度 |
最高温度 |
状态 |
立刻购买 |
申请样片 |
| XRT73LC00AIV-F |
|
-40 |
85 |
Active |
|
|
| XRT73LC00AIV |
|
-40 |
85 |
Active |
|
技术指标
| 频道数量 |
1 |
| 数据传输速率(s) |
DS3, E3, STS-1 |
| Clk Rec |
Yes |
| 短途/长途 |
n/a |
| 温度.范围 |
Ind. |
| OpPwr Sup/Max Cur |
5V ±5% |
| 封装 |
TQFP-44 |
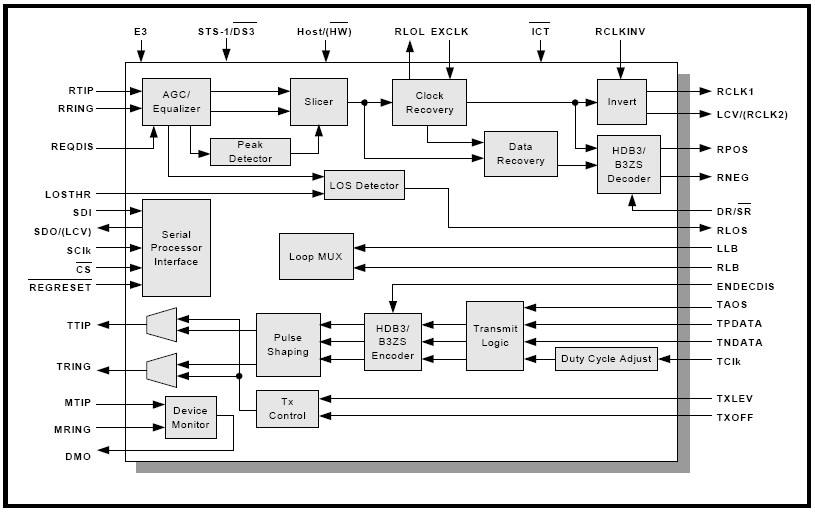
功能框图 Functional Block Diagram

|