XRT73LC04A 4-Channel DS3/E3/STS-1 Line Interface Unit
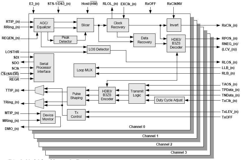
The XRT73LC04A, 4-Channel, DS3/E3/STS-1 Line Interface Unit is a low power CMOS version of the XRT73L04A and consists of four independent line transmitters and receivers integrated on a single chip designed for DS3, E3 or SONET STS-1 applications. Each channel of the XRT73LC04A can be configured to support the E3 (34.368 Mbps), DS3 (44.736 Mbps) or the SONET STS-1 (51.84 Mbps) rates. Each channel can be configured to operate in a mode/data rate that is independent of the other channels. In the transmit direction, each channel encodes input data to either B3ZS (DS3/STS-1) or HDB3 (E3) format and converts the data into the appropriate pulse shapes for transmission over coaxial cable via a 1:1 transformer.
技术特性
- Incorporates an improved Timing Recovery circuit and is pin and functional compatible to XRT73L04A
- Meets E3/DS3/STS-1 Jitter Tolerance Requirements
- Contains a 4-Wire Microprocessor Serial Interface
- Full Loop-Back Capability
- Transmit and Receive Power Down Modes
- Full Redundancy Support
- Uses Minimum External components
- Single +3.3V Power Supply
- Low Power CMOS design
- 5V tolerant I/O
- -40°C to +85°C Operating Temperature Range
- Available in a Thermally Enhanced 144 pin TQFP package
- Pb-Free, RoHS Compliant Versions Offered
应用领域 APPLICATION
- Digital Cross Connect Systems
- CSU/DSU Equipment
- Routers
- Fiber Optic Terminals
- Multiplexers
- ATM Switches
|
技术指标
| 频道数量 |
4 |
| 数据传输速率(s) |
DS3, E3, STS-1 |
| Clk Rec |
Yes |
| 短途/长途 |
n/a |
| 温度.范围 |
Ind. |
| OpPwr Sup/Max Cur |
3V |
| 封装 |
TQFP-144 |
订购信息 Ordering Information
| 器件型号 |
有害物质限制 |
最低温度 |
最高温度 |
状态 |
立刻购买 |
申请样片 |
| XRT73LC04AIV-F |
|
-40 |
85 |
Active |
|
|
| XRT73LC04AIV |
|
-40 |
85 |
Active |
功能框图 Functional Block Diagram

|