XRT73R06 6-Channel DS3/E3/STS-1 Line Interface Unit with R³ Technology™
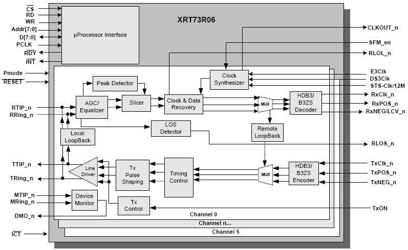
The XRT73R06 is a Six-Channel fully integrated Line Interface Unit (LIU) for E3/DS3/STS-1 applications. It incorporates six independent Receivers and Transmitters in a single 208-pin QFP package.
技术特性
- Receiver:
- On chip Clock and Data Recovery circuit for high input jitter tolerance
- Detects and Clears LOS as per G.775
- Receiver Monitor mode handles up to 20 dB flat loss with 6 dB cable attenuation
- On chip B3ZS/HDB3 encoder and decoder that can be either enabled or disabled
- On-chip Clock Synthesizer generates the appropriate rate clock from a single frequency Crystal
- Provides low jitter clock outputs for either E3, DS3 or STS-1 rates
- Meets Jitter Tolerance Requirements, as specified in ITU-T G.823_1993 for E3 Applications
- Meets Jitter Tolerance Requirements, as specified in Bellcore GR-499-CORE for DS3 Applications
Transmitter:
- Compliant with Bellcore GR-499, GR-253 and ANSI T1.102 Specification for transmit pulse
- Tri-state Transmit output capability for Redundancy applications
- Transmitters can be turned on or off
Control and Diagnostics:
- Parallel Microprocessor Interface for control and configuration
- Supports optional internal Transmit Driver Monitoring
- PRBS Error Counter Register to accumulate errors
- Supports Local, Remote and Digital Loop-backs
- Single 3.3 V ± 5% power supply
- 5 V Tolerant I/O
- Maximum Power Dissipation 2.5W.
- Available in 208 pin QFP package
- -40°C to 85°C Industrial Temperature Range
- Pb-Free, RoHS Compliant Versions Offere
|
技术指标
| 频道数量 |
6 |
| 数据传输速率(s) |
DS3, E3, STS-1 |
| Clk Rec |
Yes |
| 短途/长途 |
n/a |
| 温度.范围 |
Ind. |
| OpPwr Sup/Max Cur |
3V |
| 封装 |
BGA-217 |
应用领域 APPLICATION
- Digital Access and Cross Connect Systems
- Routers
- DSLAMs
- Fiber Optic Terminals
订购信息 Ordering Information
| 器件型号 |
有害物质限制 |
最低温度 |
最高温度 |
状态 |
立刻购买 |
申请样片 |
| XRT73R06IB-F |
|
-40 |
85 |
Active |
|
|
| XRT73R06IB |
|
-40 |
85 |
Active |
功能框图 Functional Block Diagram

|