XRT75L06D 6-Channel DS3/E3/STS-1 Line Interface Unit with Jitter Attenuator
The XRT75L06D is a four-channel fully integrated Line Interface Unit (LIU) with Jitter Attenuator for DS3/E3/STS-1 applications. It incorporates six independent Receivers, Transmitters and Jitter Attenuators in a single 208-lead QFP package.
技术特性
- Receiver:
- On chip Clock and Data Recovery circuit for high input jitter tolerance
- Meets E3/DS3/STS-1 Jitter Tolerance Requirements
- Detects and Clears LOS as per G.775
- Receiver Monitor mode handles up to 20 dB flat loss with 6 dB cable attenuation
- On chip B3ZS/HDB3 encoder and decoder that can be either enabled or disabled
- On-chip Clock Synthesizer generates the appropriate rate clock from a single frequency Crystal
- Provides low jitter clock outputs for either E3, DS3 or STS-1 rates
- Meets Jitter Tolerance Requirements, as specified in ITU-T G.823_1993 for E3 Applications
- Meets Jitter Tolerance Requirements, as specified in Bellcore GR-499-CORE for DS3 Applications
Transmitter:
- Compliant with Bellcore GR-499, GR-253 and ANSI T1.102 Specification for transmit pulse
- Tri-state Transmit output capability for redundancy applications
- Transmitter can be turned on or off Jitter Attenuator:
- On chip advanced crystal-less Jitter Attenuator
- Jitter Attenuators can be selected in Receive or Transmit paths
- Compliant with jitter transfer template outlined in ITU G.751, G.752, G.755, GR-253 and GR-499-CORE,1995 standards
- Meets ETSI TBR 24 Jitter Transfer Requirements
- 16 or 32 bits selectable FIFO size
- Meets the Jitter and Wander specifications described in ANSI T1.105.03b
- Jitter Attenuators can be disabled
Control and Diagnostics:
- 5 wire Serial Microprocessor Interface for control and configuration
- Supports optional internal Transmit Driver Monitoring
- PRBS Error Counter Register to accumulate errors
- Hardware Mode for control and configuration
- Supports Local, Remote and Digital Loop-backs
- Single 3.3 V ± 5% power supply
- 5 V Tolerant I/O
- Available in 176 pin TQFP
- -40°C to 85°C Industrial Temperature Range
- Pb-Free, RoHS Compliant Versions Offere
|
技术指标
| 频道数量 |
6 |
| 数据传输速率(s) |
DS3, E3, STS-1 |
| Clk Rec |
Yes |
| 短途/长途 |
n/a |
| 温度.范围 |
Ind. |
| OpPwr Sup/Max Cur |
3V ±5% |
| 封装 |
BGA-217 |
应用领域 APPLICATION
- E3/DS3 Access Equipment
- STS-1-SPE to DS# Mapper
- DSLAMs
- Digital Cross Connect Systems
- CSU/DSC Equipment
- Routers
- Fiber Optic Terminals
订购信息 Ordering Information
| 器件型号 |
有害物质限制 |
最低温度 |
最高温度 |
状态 |
立刻购买 |
申请样片 |
| XRT75L06DIB-F |
|
-40 |
85 |
Active |
|
|
| XRT75L06DIB |
|
-40 |
85 |
Active |
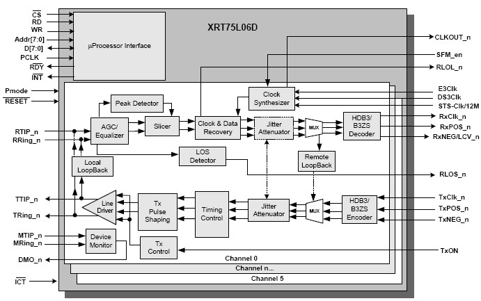
功能框图 Functional Block Diagram

|