ISL1532A: Dual Channel Fixed Gain Differential DSL Line Driver

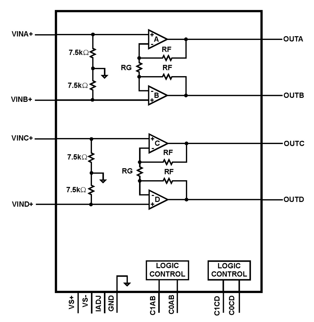
The ISL1532A is a dual channel differential amplifier designed for driving full rate ADSL2+ signals at very low power dissipation. The high drive capability of 450mA makes this driver ideal for DMT designs. It contains two pairs of wideband, high-voltage, current mode feedback amplifiers designed on Intersil's HS30 Bipolar SOI process for low power consumption in DSL systems. The amplifiers have an internal fixed gain, which helps eliminate both feedback and gain resisitors reducing board size and cost.

These drivers achieve an MTPR distortion measurement of better than 70dB, while consuming typically 5mA per DSL channel of total supply current. This supply current can be set using a resistor on the IADJ pin. Two other pins (C0 and C1) can also be used to adjust supply current to one of four pre-set modes (full-IS, 3/4-IS, 1/2-IS, and full power-down). The device is supplied in a thermally-enhanced 20 Ld HTSSOP and the small footprint (4x5mm) 24 Ld QFN packages. The ISL1532A is specified for operation over the full -40°C to +85°C temperature range.

The ISL1532A provides larger output swing at heavy loads, higher slew rate, and higher bandwidth while maintaining pin-to-pin drop-in compatibility with the EL1528. The ISL1532A integrates 50k pull-up resistors on CO and C1 pins.

Key Features
  • 450mA output drive capability
  • 44.4VP-P differential output drive into 100Ω
  • ±5V to ±15V supply operation
  • Internal fixed gain
  • MTPR of -70dB
  • Operates down to 2mA per amplifier supply current
  • Current control pins
  • Channel separation
    • 80dB @ 500kHz
    • 75dB @ 1MHz
  • Direct pin-to-pin replacement for EL1528
  • Pb-free plus anneal available (RoHS compliant)
Applications
  • Dual port ADSL line drivers
  • HDSL line drivers
  • VDSL line driver
Typical Diagram
Datasheets
TitleTypeUpdatedSizeOther Languages
ISL1532A Data ShortPDF10 Sep 2015126 KB
Order Information
Part NumberPackage TypeWeight(g)PinsMSL RatingPeak Temp (°C)RoHS Status
ISL1532AIRZ24 Ld QFN0.054243260RoHS
ISL1532AIRZ-T1324 Ld QFN T+R0.054243260RoHS
ISL1532AIRZ-T724 Ld QFN T+R0.054243260RoHS
ISL1532AIVEZ20 Ld TSSOP0.072203260RoHS
ISL1532AIVEZ-T1320 Ld TSSOP T+R0.072203260RoHS
ISL1532AIVEZ-T720 Ld TSSOP T+R0.072203260RoHS
ISL1532A Data Short 10 Sep 2015
24 Ld QFN T+R ISL58831
20 Ld TSSOP T+R EL7583
ISL1532A