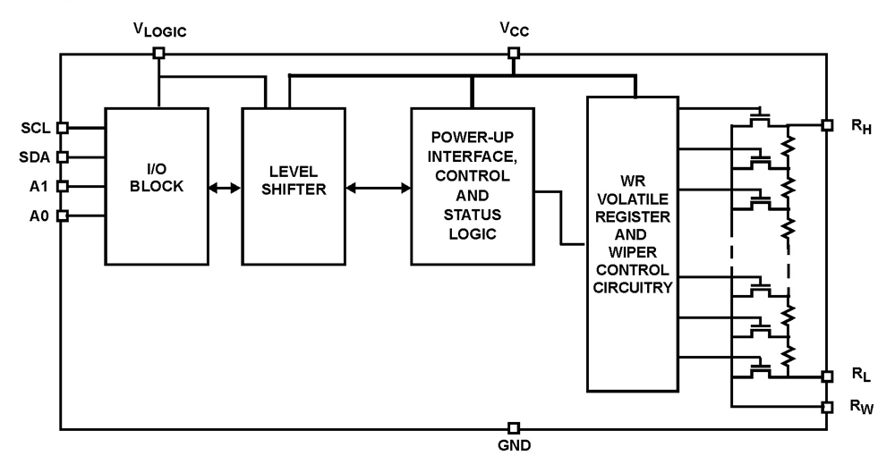
The ISL23318 is a volatile, low voltage, low noise, low power, I2C Bus™, 128 Taps, single digitally controlled potentiometer (DCP), which integrates DCP core, wiper switches and control logic on a monolithic CMOS integrated circuit.
The digitally controlled potentiometer is implemented with a combination of resistor elements and CMOS switches. The position of the wipers are controlled by the user through the I2C bus interface. The potentiometer has an associated volatile Wiper Register (WR) that can be directly written to and read by the user. The contents of the WR controls the position of the wiper. When powered on, the ISL23318s wiper will always commence at mid-scale (64 tap position).
The low voltage, low power consumption, and small package of the ISL23318 make it an ideal choice for use in battery operated equipment. In addition, the ISL23318 has a VLOGIC pin allowing down to 1.2V bus operation, independent from the VCC value. This allows for low logic levels to be connected directly to the ISL23318 without passing through a voltage level shifter.
The DCP can be used as a three-terminal potentiometer or as a two-terminal variable resistor in a wide variety of applications including control, parameter adjustments, and signal processing.
Key Features
- 128 resistor taps
- I2C serial interface
- No additional level translator for low bus supply
- Two address pins allow up to four devices per bus
- Power supply
- VCC = 1.7V to 5.5V analog power supply
- VLOGIC = 1.2V to 5.5V I2C bus/logic power supply
- Wiper resistance: 70Ω typical @ VCC = 3.3V
- Shutdown Mode - forces the DCP into an end-to-end open circuit and RW is shorted to RL internally
- Power-on preset to mid-scale (64 tap position)
- Shutdown and standby current <2.8µA max
- DCP terminal voltage from 0V to VCC
- 10kΩ, 50kΩ or 100kΩ total resistance
- Extended industrial temperature range: -40°C to +125°C
- 10 Ld MSOP or 10 Ld UTQFN packages
- Pb-free (RoHS compliant)
Applications
- Gain adjustment in battery powered instruments
- Trimming sensor circuits
- Power supply margining
- RF power amplifier bias compensation


Order Information| Part Number | Package Type | Weight(g) | Pins | MSL Rating | Peak Temp (°C) | RoHS Status |
|---|
|
| ISL23318TFRUZ-T7A | 10 Ld uTQFN T+R | 0.0046 | 10 | 1 | 260 | RoHS |
|
|
| ISL23318TFRUZ-TK | 10 Ld uTQFN T+R | 0.0046 | 10 | 1 | 260 | RoHS |
|
|
| ISL23318TFUZ | 10 Ld MSOP | 0.026 | 10 | 1 | 260 | RoHS |
|
|
| ISL23318TFUZ-T7A | 10 Ld MSOP T+R | 0.026 | 10 | 1 | 260 | RoHS |
|
|
| ISL23318TFUZ-TK | 10 Ld MSOP T+R | 0.026 | 10 | 1 | 260 | RoHS |
|
|
| ISL23318UFRUZ-T7A | 10 Ld uTQFN T+R | 0.0046 | 10 | 1 | 260 | RoHS |
|
|
| ISL23318UFRUZ-TK | 10 Ld uTQFN T+R | 0.0046 | 10 | 1 | 260 | RoHS |
|
|
| ISL23318UFUZ | 10 Ld MSOP | 0.026 | 10 | 1 | 260 | RoHS |
|
|
| ISL23318UFUZ-T7A | 10 Ld MSOP T+R | 0.026 | 10 | 1 | 260 | RoHS |
|
|
| ISL23318UFUZ-TK | 10 Ld MSOP T+R | 0.026 | 10 | 1 | 260 | RoHS |
|
|
| ISL23318WFRUZ-T7A | 10 Ld uTQFN T+R | 0.0046 | 10 | 1 | 260 | RoHS |
|
|
| ISL23318WFRUZ-TK | 10 Ld uTQFN T+R | 0.0046 | 10 | 1 | 260 | RoHS |
|
|
| ISL23318WFUZ | 10 Ld MSOP | 0.026 | 10 | 1 | 260 | RoHS |
|
|
| ISL23318WFUZ-T7A | 10 Ld MSOP T+R | 0.026 | 10 | 1 | 260 | RoHS |
|
|
| ISL23318WFUZ-TK | 10 Ld MSOP T+R | 0.026 | 10 | 1 | 260 | RoHS |
|
|