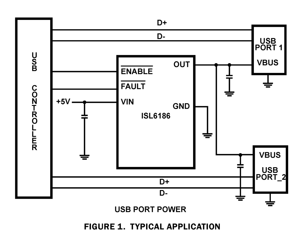
The ISL6186 USB power controller family provides overcurrent (OC) fault protection for one or more USB ports.
This product family consists of eight individual functional product variants and three package options and is operation rated for a nominal +2.5V to +5V range and specified over the full commercial and industrial temperature ranges.
Each ISL6186 type incorporates a 45mΩ P-channel MOSFET power switch for power control and features internal current monitoring, accurate current limiting, and current limited delay to turn-off for system supply protection along with control and communication I/O.
The ISL6186 family offers product variants with specified continuous output current levels of 1.5A, 3A or 3.6A, enable active high or low inputs, and latch off or automatic retry after overcurrent turn-off, making these devices well suited for many low-power applications.
This family of ICs is offered in an industry standard SOIC package as well as in the 70% smaller 3x3 DFN package, which provides the same performance and an additional Power-Good output feature in the smallest possible (10 Ld DFN) package.
Key Features
- Commercial Temperature Range of 0°C to +70°Calso Available – see ISL6186XXC
- 2.5V to 5V Operating Range
- 45mΩ Integrated Power P-channel MOSFET Switches
- Continuous Current Options for 1.5A, 3A and 3.6A
- Thermally Insensitive 12ms of Current Limiting Prior to Turn-Off
- Output Discharges with Reverse Current Blocking When Disabled
- Latch-off or Auto Restart and Enable Polarity Options
- 1µA Off-State Supply Current
- Industry Standard Pin-for-Pin SOIC and Smaller DFN Packages Available
Applications
- USB Port Power Management Including USB 3.0
- Low Power Electronic Circuit Limiting and Breaker

Order Information| Part Number | Package Type | Weight(g) | Pins | MSL Rating | Peak Temp (°C) | RoHS Status |
|---|
|
| ISL61861AIBZ | 8 Ld SOIC | 0.072 | 8 | 2 | 260 | RoHS |
|
|
| ISL61861AIBZ-T | 8 Ld SOIC T+R | 0.072 | 8 | 2 | 260 | RoHS |
|
|
| ISL61861BIBZ | 8 Ld SOIC | 0.072 | 8 | 2 | 260 | RoHS |
|
|
| ISL61861BIBZ-T | 8 Ld SOIC T+R | 0.072 | 8 | 2 | 260 | RoHS |
|
|
| ISL61861CIBZ | 8 Ld SOIC | 0.072 | 8 | 2 | 260 | RoHS |
|
|
| ISL61861CIBZ-T | 8 Ld SOIC T+R | 0.072 | 8 | 2 | 260 | RoHS |
|
|
| ISL61861DIBZ | 8 Ld SOIC | 0.072 | 8 | 2 | 260 | RoHS |
|
|
| ISL61861DIBZ-T | 8 Ld SOIC T+R | 0.072 | 8 | 2 | 260 | RoHS |
|
|
| ISL61861EIBZ | 8 Ld SOIC | 0.072 | 8 | 2 | 260 | RoHS |
|
|
| ISL61861EIBZ-T | 8 Ld SOIC T+R | 0.072 | 8 | 2 | 260 | RoHS |
|
|
| ISL61861FIBZ | 8 Ld SOIC | 0.072 | 8 | 2 | 260 | RoHS |
|
|
| ISL61861FIBZ-T | 8 Ld SOIC T+R | 0.072 | 8 | 2 | 260 | RoHS |
|
|
| ISL61861GIBZ | 8 Ld SOIC | 0.072 | 8 | 2 | 260 | RoHS |
|
|
| ISL61861GIBZ-T | 8 Ld SOIC T+R | 0.072 | 8 | 2 | 260 | RoHS |
|
|
| ISL61861HIBZ | 8 Ld SOIC | 0.072 | 8 | 2 | 260 | RoHS |
|
|
| ISL61861HIBZ-T | 8 Ld SOIC T+R | 0.072 | 8 | 2 | 260 | RoHS |
|
|
| ISL61862AIRZ | 8 Ld DFN | 0.022 | 8 | 2 | 260 | RoHS |
|
|
| ISL61862AIRZ-T | 8 Ld DFN T+R | 0.022 | 8 | 2 | 260 | RoHS |
|
|
| ISL61862BIRZ | 8 Ld DFN | 0.022 | 8 | 2 | 260 | RoHS |
|
|
| ISL61862BIRZ-T | 8 Ld DFN T+R | 0.022 | 8 | 2 | 260 | RoHS |
|
|
| ISL61862CIRZ | 8 Ld DFN | 0.022 | 8 | 2 | 260 | RoHS |
|
|
| ISL61862CIRZ-T | 8 Ld DFN T+R | 0.022 | 8 | 2 | 260 | RoHS |
|
|
| ISL61862DIRZ | 8 Ld DFN | 0.022 | 8 | 2 | 260 | RoHS |
|
|
| ISL61862DIRZ-T | 8 Ld DFN T+R | 0.022 | 8 | 2 | 260 | RoHS |
|
|
| ISL61862EIRZ | 8 Ld DFN | 0.022 | 8 | 2 | 260 | RoHS |
|
|
| ISL61862EIRZ-T | 8 Ld DFN T+R | 0.022 | 8 | 2 | 260 | RoHS |
|
|
| ISL61862FIRZ | 8 Ld DFN | 0.022 | 8 | 2 | 260 | RoHS |
|
|
| ISL61862FIRZ-T | 8 Ld DFN T+R | 0.022 | 8 | 2 | 260 | RoHS |
|
|
| ISL61862GIRZ | 8 Ld DFN | 0.022 | 8 | 2 | 260 | RoHS |
|
|
| ISL61862GIRZ-T | 8 Ld DFN T+R | 0.022 | 8 | 2 | 260 | RoHS |
|
|
| ISL61862HIRZ | 8 Ld DFN | 0.022 | 8 | 2 | 260 | RoHS |
|
|
| ISL61862HIRZ-T | 8 Ld DFN T+R | 0.022 | 8 | 2 | 260 | RoHS |
|
|
| ISL61863AIRZ | 10 Ld DFN | 0.022 | 10 | 2 | 260 | RoHS |
|
|
| ISL61863AIRZ-T | 10 Ld DFN T+R | 0.022 | 10 | 2 | 260 | RoHS |
|
|
| ISL61863BIRZ | 10 Ld DFN | 0.022 | 10 | 2 | 260 | RoHS |
|
|
| ISL61863BIRZ-T | 10 Ld DFN T+R | 0.022 | 10 | 2 | 260 | RoHS |
|
|
| ISL61863CIRZ | 10 Ld DFN | 0.022 | 10 | 2 | 260 | RoHS |
|
|
| ISL61863CIRZ-T | 10 Ld DFN T+R | 0.022 | 10 | 2 | 260 | RoHS |
|
|
| ISL61863DIRZ | 10 Ld DFN | 0.022 | 10 | 2 | 260 | RoHS |
|
|
| ISL61863DIRZ-T | 10 Ld DFN T+R | 0.022 | 10 | 2 | 260 | RoHS |
|
|
| ISL61863EIRZ | 10 Ld DFN | 0.022 | 10 | 2 | 260 | RoHS |
|
|
| ISL61863EIRZ-T | 10 Ld DFN T+R | 0.022 | 10 | 2 | 260 | RoHS |
|
|
| ISL61863FIRZ | 10 Ld DFN | 0.022 | 10 | 2 | 260 | RoHS |
|
|
| ISL61863FIRZ-T | 10 Ld DFN T+R | 0.022 | 10 | 2 | 260 | RoHS |
|
|
| ISL61863GIRZ | 10 Ld DFN | 0.022 | 10 | 2 | 260 | RoHS |
|
|
| ISL61863GIRZ-T | 10 Ld DFN T+R | 0.022 | 10 | 2 | 260 | RoHS |
|
|
| ISL61863HIRZ | 10 Ld DFN | 0.022 | 10 | 2 | 260 | RoHS |
|
|
| ISL61863HIRZ-T | 10 Ld DFN T+R | 0.022 | 10 | 2 | 260 | RoHS |
|
|
| ISL61863IIRZ | 10 Ld DFN | 0.022 | 10 | 2 | 260 | RoHS |
|
|
| ISL61863IIRZ-T | 10 Ld DFN T+R | 0.022 | 10 | 2 | 260 | RoHS |
|
|
| ISL61863JIRZ | 10 Ld DFN | 0.022 | 10 | 2 | 260 | RoHS |
|
|
| ISL61863JIRZ-T | 10 Ld DFN T+R | 0.022 | 10 | 2 | 260 | RoHS |
|
|
| ISL61863KIRZ | 10 Ld DFN | 0.022 | 10 | 2 | 260 | RoHS |
|
|
| ISL61863KIRZ-T | 10 Ld DFN T+R | 0.022 | 10 | 2 | 260 | RoHS |
|
|
| ISL61863LIRZ | 10 Ld DFN | 0.022 | 10 | 2 | 260 | RoHS |
|
|
| ISL61863LIRZ-T | 10 Ld DFN T+R | 0.022 | 10 | 2 | 260 | RoHS |
|
|
| ISL61861BIBZ-T7A | 8 Ld SOIC T+R | 0.072 | 8 | 2 | 260 | RoHS |
|
|
| ISL61861AIBZ-T7A | 8 Ld SOIC T+R | 0.072 | 8 | 2 | 260 | RoHS |
|
|
|
|
| ISL61861EVAL1Z | | | | N/A | | RoHS |
|
|
| ISL61862EVAL1Z | | | | N/A | | RoHS |
|
|
| ISL61863EVAL1Z | | | | N/A | | RoHS |
|
|