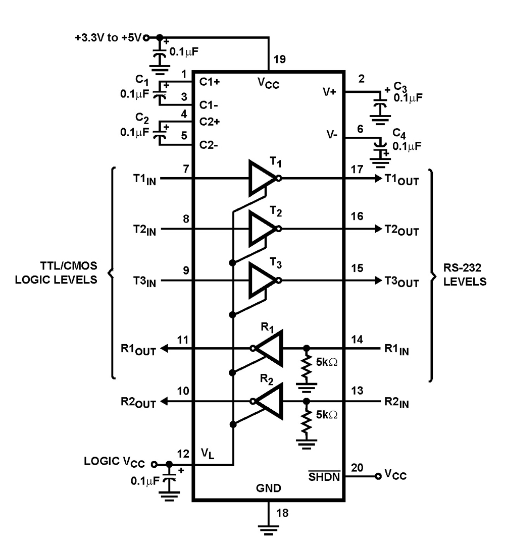
The ISL83386E contains 3.0V to 5.5V powered RS-232 transmitters/receivers which meet ElA/TIA-232 and V.28/V.24 specifications, even at VCC = 3.0V. Targeted applications are PDAs, Palmtops, and cell phones where the low operational, and even lower standby, power consumption is critical. Efficient on-chip charge pumps, coupled with a manual powerdown function reduces the standby supply current to a 1µA trickle. Small footprint packaging, and the use of small, low value capacitors ensure board space savings as well. Data rates greater than 250kbps are guaranteed at worst case load conditions. The ISL83386E features a VL pin that adjusts the logic pin (see Pin Descriptions table) output levels and input thresholds to values compatible with the VCC powering the external logic (e.g., a UART). The single pin powerdown function (SHDN = 0) disables all the receiver and transmitter outputs, while shutting down the charge pump to minimize supply current drain. Table 1 summarizes the features of the ISL83386E, while Application Note AN9863 summarizes the features of each device comprising the 3V RS-232 family.
Key Features
- Pb-Free Available (RoHS Compliant)
- VL Pin for Compatibility with Mixed Voltage Systems
- ESD Protection for RS-232 I/O Pins to ±15kV (IEC61000)
- Low Power, Pin Compatible Upgrade for MAX3386E and SP3203E
- Single SHDN Pin Disables Transmitters and Receivers
- Meets EIA/TIA-232 and V.28/V.24 Specifications at 3V
- On-Chip Charge Pumps Require Only Four External 0.1µF Capacitors
- Receiver Hysteresis For Improved Noise Immunity
- Very Low Supply Current 300µA
- Guaranteed Minimum Data Rate 250kbps
- Wide Power Supply Range Single +3V to +5.5V
- Low Supply Current in Powerdown State < 1µA
Applications
- Any System Requiring RS-232 Communication Ports
- Battery Powered, Hand-Held, and Portable Equipment
- Laptop Computers, Notebooks, Palmtops
- Digital Cameras
- PDA's and PDA Cradles
- Cellular/Mobile Phones

Order Information| Part Number | Package Type | Weight(g) | Pins | MSL Rating | Peak Temp (°C) | RoHS Status |
|---|
|
| ISL83386EIV | 20 Ld TSSOP | 0.072 | 20 | 1 | 240 | |
|
|
| ISL83386EIV-T | 20 Ld TSSOP T+R | 0.072 | 20 | 1 | 240 | |
|
|
| ISL83386EIVZ | 20 Ld TSSOP | 0.072 | 20 | 3 | 260 | RoHS |
|
|
| ISL83386EIVZ-T | 20 Ld TSSOP T+R | 0.072 | 20 | 3 | 260 | RoHS |
|
|