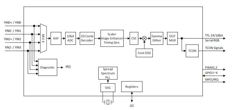
The TW8819 is an ultra low cost highly integrated LCD controller. It combines a high quality 2D comb NTSC/PAL/SECAM video decoder, high quality scaler, Font based OSD engine, and image enhancement functions. It also supports panoramic scaling for conversion to wide screen display. The TW8819 supports analog composite video inputs and the output supports a wide variety of digital LCD panel types.
Key Features
- Analog Video Decoder
- NTSC (M, 4.43) and PAL (B, D, G, H, I, M, N, N combination), PAL (60), SECAM with automatic format detection
- 10-bit ADC and analog clamping circuit
- Fully programmable static gain or automatic gain control for the Y or CVBS channel
- Programmable white peak control for the Y or CVBS channel
- High quality adaptive 2D comb filter for both NTSC and PAL inputs
- PAL delay line for color phase error correction
- Image enhancement with 2D dynamic peaking and CTI
- Digital sub-carrier PLL for accurate color decoding
- Digital horizontal PLL and advanced synchronization processing for VCR playback and weak signal performance
- Programmable hue, brightness, saturation, contrast and sharpnessTFT Panel Support
- Built-in programmable timing controller
- Supports 3, 4, 6 or 8 bits per pixel up to 16.8 million colors with built-in dithering engine
- Supports digital panels up to WXGA+ (1366x768) resolution
- Supports serial (8-bit) RGB panelsTiming Controller (TCON)
- Supports programmable timing interface signals for control
- Column (source) driver/row (gate) driverOn Screen Display
- 256 Font RAM and 512 Display RAM
- Four windows font OSD with bordering/shadowing
- 1/2/3/4 bits/pixel
- Supports variable width (12/16), height (2~32)Image Processing
- High quality scaler with both up/down and nonlinear scaling support
- Panorama/water-glass scaling
- Built-in 2D de-interlacing function
- Programmable hue, brightness, saturation, contrast and sharpness
- Programmable cropping of input video and graphics
- Independent RGB gain and offset controls
- Programmable 8-bit Gamma correction for each color
- Operates in Frame Sync mode
- Black/White StretchClock Generation
- Spread spectrum clock
- Selectable modulation frequency and spread width Power Management
- Supports functional based independent power down
- 1.8/3.3 V operationMiscellaneous
- Short to Battery Detection Test
- Short to Ground Detection Test
- Supports 2-wire serial bus interface
- Single 27MHz crystal
- 48 pin WFQFN package (Wettable Flank QFN available)
Applications
- Rear camera display
- Video door phone

Order Information| Part Number | Package Type | Weight(g) | Pins | MSL Rating | Peak Temp (°C) | RoHS Status |
|---|
|
| TW8819-NA2-CR | 48 Ld QFN | 0.127 | 48 | 3 | 260 | RoHS |
|
|
| TW8819AT-NA2-GR | 48 Ld WFQFN | NA | 48 | 3 | 260 | RoHS |
|
|
| TW8819AT-NA2-GRT | 48 Ld WFQFN T+R | NA | 48 | 3 | 260 | RoHS |
|
|
| TW8819-NA2-CRT | 48 Ld QFN T+R | 0.127 | 48 | 3 | 260 | RoHS |
|
|