XRT73L03B 3-Channel E3/DS3/STS-1 Line Interface Unit

The XRT73L03B, 3-Channel, DS3/E3/STS-1 Line Interface Unit is a low power CMOS version of the XRT73L03A and consists of three independent line transmitters and receivers integrated on a single chip designed for DS3, E3 or SONET STS-1 applications. Each channel of the XRT73L03B can be configured to support the E3 (34.368 Mbps), DS3 (44.736 Mbps) or the SONET STS-1 (51.84 Mbps) rates. Each channel can be configured to operate in a mode/data rate that is independent of the other channels. In the transmit direction, each channel encodes input data to either B3ZS (DS3/STS-1) or HDB3 (E3) format and converts the data into the appropriate pulse shapes for transmission over coaxial cable via a 1:1 transformer.

技术特性
  • Incorporates an improved Timing Recovery circuit and is pin and functional compatible to XRT73L03A
  • Meets E3/DS3/STS-1 Jitter Tolerance Requirements
  • Contains a 4-Wire Microprocessor Serial Interface
  • Full Loop-Back Capability
  • Transmit and Receive Power Down Modes
  • Full Redundancy Support
  • Uses Minimum External components
  • Single +3.3V Power Supply
  • Low power CMOS design
  • 5V tolerant I/O
  • -40°C to +85°C Operating Temperature Range
  • Available in a 120 pin LQFP package
  • Pb-Free, RoHS Compliant Versions Offered
应用领域 APPLICATION
  • Digital Cross Connect Systems
  • CSU/DSU Equipment
  • Routers
  • Fiber Optic Terminals
  • Multiplexers
  • ATM Switches
技术指标
频道数量 2
数据传输速率(s) DS3, E3, STS-1
Clk Rec Yes
短途/长途 n/a
温度.范围 Ind.
OpPwr Sup/Max Cur 3V ±5%
封装 TQFP-80
订购信息 Ordering Information
器件型号 有害物质限制 最低温度 最高温度 状态 立刻购买 申请样片
XRT73L03BIV-F -40 85 Active
XRT73L03BIV -40 85 Active
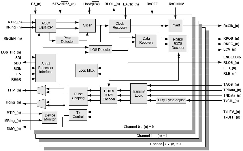
功能框图 Functional Block Diagram

XRT73L03B 功能框图

应用技术支持与电子电路设计开发资源下载 版本信息 大小
XRT73L03B 数据资料DataSheet下载:pdf Rev.V2 2 页