XRT75L06D 6-Channel DS3/E3/STS-1 Line Interface Unit with Jitter Attenuator

The XRT75L06D is a four-channel fully integrated Line Interface Unit (LIU) with Jitter Attenuator for DS3/E3/STS-1 applications. It incorporates six independent Receivers, Transmitters and Jitter Attenuators in a single 208-lead QFP package.

技术特性
  • Receiver:
    • On chip Clock and Data Recovery circuit for high input jitter tolerance
    • Meets E3/DS3/STS-1 Jitter Tolerance Requirements
    • Detects and Clears LOS as per G.775
    • Receiver Monitor mode handles up to 20 dB flat loss with 6 dB cable attenuation
    • On chip B3ZS/HDB3 encoder and decoder that can be either enabled or disabled
    • On-chip Clock Synthesizer generates the appropriate rate clock from a single frequency Crystal
    • Provides low jitter clock outputs for either E3, DS3 or STS-1 rates
    • Meets Jitter Tolerance Requirements, as specified in ITU-T G.823_1993 for E3 Applications
    • Meets Jitter Tolerance Requirements, as specified in Bellcore GR-499-CORE for DS3 Applications
    Transmitter:
    • Compliant with Bellcore GR-499, GR-253 and ANSI T1.102 Specification for transmit pulse
    • Tri-state Transmit output capability for redundancy applications
    • Transmitter can be turned on or off Jitter Attenuator:
    • On chip advanced crystal-less Jitter Attenuator
    • Jitter Attenuators can be selected in Receive or Transmit paths
    • Compliant with jitter transfer template outlined in ITU G.751, G.752, G.755, GR-253 and GR-499-CORE,1995 standards
    • Meets ETSI TBR 24 Jitter Transfer Requirements
    • 16 or 32 bits selectable FIFO size
    • Meets the Jitter and Wander specifications described in ANSI T1.105.03b
    • Jitter Attenuators can be disabled
    Control and Diagnostics:
    • 5 wire Serial Microprocessor Interface for control and configuration
    • Supports optional internal Transmit Driver Monitoring
    • PRBS Error Counter Register to accumulate errors
    • Hardware Mode for control and configuration
    • Supports Local, Remote and Digital Loop-backs
    • Single 3.3 V ± 5% power supply
    • 5 V Tolerant I/O
    • Available in 176 pin TQFP
    • -40°C to 85°C Industrial Temperature Range
    • Pb-Free, RoHS Compliant Versions Offere
技术指标
频道数量 6
数据传输速率(s) DS3, E3, STS-1
Clk Rec Yes
短途/长途 n/a
温度.范围 Ind.
OpPwr Sup/Max Cur 3V ±5%
封装 BGA-217
应用领域 APPLICATION
  • E3/DS3 Access Equipment
  • STS-1-SPE to DS# Mapper
  • DSLAMs
  • Digital Cross Connect Systems
  • CSU/DSC Equipment
  • Routers
  • Fiber Optic Terminals
订购信息 Ordering Information
器件型号 有害物质限制 最低温度 最高温度 状态 立刻购买 申请样片
XRT75L06DIB-F -40 85 Active
XRT75L06DIB -40 85 Active
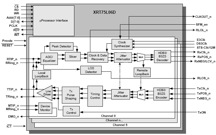
功能框图 Functional Block Diagram

XRT75L06D 功能框图

应用技术支持与电子电路设计开发资源下载 版本信息 大小
XRT75L06D 数据资料DataSheet下载:pdf Rev.V2 2 页