XRT75R12 Multi-Channel Line Interface Unit (LIU) Family Desynchronizer and Jitter Attenuator with R³ Technology™
The XRT75Rxx series has an independent receiver, transmitter and jitter attenuator in a single 52-pin TQFP package. It supports E3 (34.368.Mbps), DS3 (44.736Mbps) and STS-1 (51.84 Mbps) operations, has a differential receiver that provides a high noise interference margins -- capable of receiving data from cables of over 1,000 feet, or up to 12dB of cable attenuation. The device has an onboard Pseudo Random Binary Sequence (PRBS) generator and detector that can insert and detect single bit errors. This function is often used for diagnostic purposes. In addition, Exar adds desynchronization capability in its XRT75RxxD family.
技术特性
- Receiver:
- On-Chip Clock and Data Recovery Circuit for High-Input Jitter Tolerance
- On-Chip B3ZS/HDB3 Encoder/Decoder Can be Disabled or Enabled
- Able to receive data over 1000 feet of cable with up to 12 dB of cable attenuation
Transmitter:
- Tri-state Transmit Output Capability for Redundancy Applications
- Transmitter Can be Turned On or Off
Jitter Attenuator
- Jitter Attenuator Can be Selected in Receive or Transmit Paths
- Selectable FIFO Size of 16 or 32 Bits
Control and Diagnostics
- Five Wire Serial Microprocessor for Control and Configuration
- Supports Optional Internal Transmit Driver Monitoring
- Reconfigurable relayless redundancy
- Pb-Free, RoHS Compliant Versions Offere
订购信息 Ordering Information
| 器件型号 |
有害物质限制 |
最低温度 |
最高温度 |
状态 |
立刻购买 |
申请样片 |
| XRT75R12IB-F |
|
-40 |
85 |
Active |
|
|
| XRT75R12IB |
|
-40 |
85 |
Active |
|
技术指标
| 频道数量 |
12 |
| 数据传输速率(s) |
DS3, E3, STS-1 |
| Clk Rec |
Yes |
| 短途/长途 |
n/a |
| 温度.范围 |
Ind. |
| OpPwr Sup/Max Cur |
3V ±5% |
| 封装 |
TBGA-420 |
应用领域 APPLICATION
- E3/DS3 Access Equipment
- STS-1-SPE to DS# Mapper
- DSLAMs
- Digital Cross Connect Systems
- CSU/DSC Equipment
- Routers
- Fiber Optic Terminals
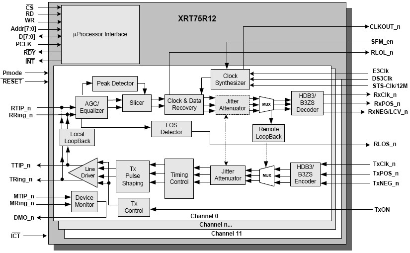
功能框图 Functional Block Diagram

|