54S174 / 74S174 特点:
功能表

| 输 | 入 | 输出 | |
| 清零 | 时钟 | 数据 | |
| CLK | D | Q | |
| L | × | × | L |
| H | ↑ | H | H |
| H | ↑ | L | L |
| H | L | × | QO |
H=高电平 L=低电平 ×=任意
↑=从低电平过渡到高电平 QO=建立稳态输入条件之前的 Q电平
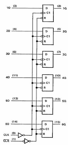
外引线排列图

说明:
本电路是单向正沿触发的六 D触发器,有公用的时钟和公用的直接清零。在时钟脉冲正跃变的沿上,满足建立时间的 D输入信息可传至 Q输出。时钟的触发产生于特定的电压电平上,同脉冲的正跃变时间无直接关系。不管时钟输入的电平是高或是低,D输入信号不影响输出。电路同其它 TTL和 DTL完全相容。
推荐工作条件
| 符号 | 参数名称 | 74S174 | 54 | 单位 | |||||
|---|---|---|---|---|---|---|---|---|---|
| 最小 | 典型 | 最大 | 最小 | 典型 | 最大 | ||||
| Vcc | 电源电压 | 4.75 | 5 | 5.25 | 4.5 | 5 | 5.5 | V | |
| VIH | 输入高电平电压 | 2.0 | 2.0 | V | |||||
| VIL | 输入低电平电压 | 0.8 | 0.8 | V | |||||
| IOH | 输出高电平电流 | -1.0 | -1.0 | mA | |||||
| IOL | 输出低电平电流 | 20 | 20 | mA | |||||
| fCK | 时钟频率 | 0 | 75 | 0 | 75 | MHz | |||
| tW | 脉冲宽度 | 时钟 | 7 | 7 | ns | ||||
| 清零 | 10 | 10 | |||||||
| tsu | 建立时间 | 数据输入 | 5 | 5 | ns | ||||
| 清除无效态 | 5 | 5 | ns | ||||||
| th | 数据保持时间 | 3 | 3 | ns | |||||
| TA | 工作环境温度 | -40 | 85 | -55 | 125 | ℃ | |||
电 性 能:(除特别说明外,均为全温度范围)
| 符号 | 参数名称 | 测试条件 | 74S174 | 54S174 | 单位 | ||||
|---|---|---|---|---|---|---|---|---|---|
| 最小 | 典型 | 最大 | 最小 | 典型 | 最大 | ||||
| VIK | 输入钳位电压 | Vcc=最小 II =-18mA | -1.2 | -1.2 | V | ||||
| VOH | 输出高电平电压 | Vcc=最小 VIL =最大 VIH=2V IOH =最大 | 2.7 | 2.5 | 3.4 | V | |||
| VOL | 输出低电平电压 | Vcc=最小 VIL=最大 VIH=2V IOL=最大 | 0.5 | 0.5 | V | ||||
| II | 输入电流 (最大输入电压时 ) | Vcc=最大 VI=5.5V | 1 | 1 | mA | ||||
| IIH | 输入高电平电流 | Vcc=最大 VI=2.7V | 50 | 50 | μA | ||||
| IIL | 输入低电平电流 | Vcc=最大 VI=0.5V | -2 | -2 | mA | ||||
| IOS | 输出短路电流 | Vcc=最大 VO=0V | -40 | -100 | -40 | -100 | mA | ||
| ICC | 电源电流 | Vcc=最大(注) | 144 | 90 | 144 | mA | |||
注:测 Icc时,所有输出开路,所有数据和清零输入接 4.5V,在时钟输入瞬时接地再接
4.5V然后测量。
所有典型值均在 Vcc=5.0V, TA=25℃下测量得出。交流(开关)参数:Vcc=5.0V, TA=25℃
| 符号 | 参数名称 | 从(输入) | 到(输出) | 测试条件 | 参数值 | 单位 | ||
|---|---|---|---|---|---|---|---|---|
| 最小 | 典型 | 最大 | ||||||
| fmax | 最大时钟频率 | CLK | Q | 75 | 110 | MHz | ||
| tPHL | 传输延迟时间 | CL=15pF | 13 | 22 | ns | |||
| tPLH | 传输延迟时间 | CLK | Q | 8 | 12 | |||
| tPHL | 传输延迟时间 | RL=280Ω | 11.5 | 17 | ||||