说明:
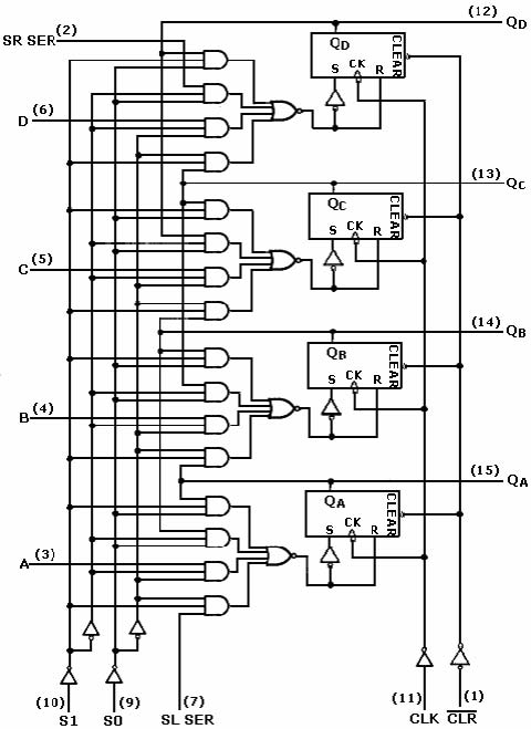
本电路有 46个等效门,有并行输入、并行输出、右移和左移串行输入 ,操作模式控制输入和一个直接无条件清零。设计者实际上组合了系统设计者在一个移位寄存器上所要的全部特点。电路有四个不同的操作方式,为:
并行(并排)寄存(置数)
右移(方向 QA到 OD)
左移(方向 QD到 OA)
禁止时钟(不动)
同步的并行置数是通过加4个数据位,并使模式控制输入端S0和S1为高电平而完成的。在时钟输入的正跃变之后,可把数据存入到相应的触发器上并在输出端输出。当置数时,串行数据流被禁止。
右移是在 S0为高和 S1为低时,用时钟的脉冲上升沿去同步地完成。这种方式的串行数据是在右移数据输入端上进行。当 S0为低和 S1为高时,可同步地左移数据,而数据被送入左移串行输入端。
当两个模式控制输入都为低时,触发器的时钟脉冲便被禁止。
a、b、c、d=分别为 A、B、C或 D输入端上稳定状态输入的电平。 QAO、QBO、QCO、QDO=在已建立稳定状态输入条件之前 QA、QB、QC、QD相应的电平。 QAn、QBn、QCn、QDn=在时钟最新↑跃变之前的 QA、QB、QC、QD的电平。 H=高电平 L=低电平 ×=不定 ↑=从低电平转换到高电平
典型清除、移位时序
| 符号 | 参数名称 | 74S194 | 54S194 | 单位 | |||||
|---|---|---|---|---|---|---|---|---|---|
| 参数值 | 参数值 | ||||||||
| 最小 | 典型 | 最大 | 最小 | 典型 | 最大 | ||||
| Vcc | 电源电压 | 4.75 | 5 | 5.25 | 4.5 | 5 | 5.5 | V | |
| VIH | 输入高电平电压 | 2.0 | 2.0 | V | |||||
| VIL | 输入低电平电压 | 0.8 | 0.8 | V | |||||
| IOH | 输出高电平电流 | -1000 | -1000 | μA | |||||
| IOL | 输出低电平电流 | 20 | 20 | mA | |||||
| fCK | 时钟频率 | 0 | 70 | 0 | 70 | MHz | |||
| tW | 脉冲宽度 | 时钟 | 7 | 7 | ns | ||||
| 清零 | 12 | 12 | |||||||
| 模式控制 | 11 | 11 | ns | ||||||
| tsu | 数据建立时间 | 串并行数据 | 5 | 5 | |||||
| 清除无效态 | 9 | 9 | |||||||
| th | 保持时间 | 3 | 3 | ns | |||||
| TA | 工作环境温度 | -40 | 85 | -55 | 125 | ℃ | |||
电 性 能:(除特别说明外,均为全温度范围)
| 符号 | 参数名称 | 测试条件 | 74S194 | 54S194 | 单位 | ||||
|---|---|---|---|---|---|---|---|---|---|
| 最小 | 典型 | 最大 | 最小 | 典型 | 最大 | ||||
| VIK | 输入钳位电压 | Vcc=最小 II=-18mA | -1.2 | -1.2 | V | ||||
| VOH | 输出高电平电压 | Vcc=最小 VIL=最大 VIH=2V IOH=最大 | 2.7 | 2.5 | 3.4 | V | |||
| VOL | 输出低电平电压 | Vcc=最小 VIL =最大 VIH=2V IOL =最大 | 0.5 | 0.5 | V | ||||
| II | 输入电流 (最大输入电压时 ) | Vcc=最大 VI=5.5V | 1 | 1 | mA | ||||
| IIH | 输入高电平电流 | Vcc=最大 VI=2.7V | 50 | 50 | μA | ||||
| IIL | 输入低电平电流 | Vcc=最大 VI=0.5V | -2 | -2 | mA | ||||
| IOS | 输出短路电流 | Vcc=最大 VO=0V | -40 | -100 | -40 | -100 | mA | ||
| ICC | 电源电流 | Vcc=最大(注) | 135 | 85 | 135 | mA | |||
注:测 Icc时,所有输出开路,并行输入 A、B、C、D接地, S0、S1、清除和串行输入接 4.5V,时钟输入端先瞬时接地再接 4.5V。所有典型值均在 Vcc=5.0V, TA=25℃下测量得出。交流(开关)参数:Vcc=5.0V, TA=25℃
| 符号 | 参数名称 | 从(输入) | 到(输出) | 测试条件 | 参数值 | 单位 | ||
|---|---|---|---|---|---|---|---|---|
| 最小 | 典型 | 最大 | ||||||
| fmax | 最大时钟频率 | 时钟 CLK | 70 | 105 | MHz | |||
| tPLH | 传输延迟时间 | 清除 | 任一输出 | CL=15pF | 12.5 | 18.5 | ns | |
| tPHL | 传输延迟时间 | 时钟 CLK | 4 | 8 | 12 | ns | ||
| tPLH | 传输延迟时间 | RL=2kΩ | 4 | 11 | 16.5 | ns | ||