CM600HG-130H 工业最高耐压等级的6.5kV, 600A HVIGBT产品

CM600HG-130H 概述

CM600HG-130H 工业最高耐压等级的6.5kV, 600A HVIGBT产品本公司生产的1.7~4.5kV HVIGBT模块,是一种耐高压、大容量器件,适用于电气铁路、电力和工业等大功率电力设备,本产品的使用大大推进了变频器的小型化、轻量化,改善了可维护性。大功率电力设备行业一直在寻求更高耐压的HVIGBT,以适用转换更高压的电力转换装置。 6.5kV, 600A HVIGBT模块的投产适应了市场的需求。

CM600HG-130H 特点
由于采用了工业最高的电压和功率等级,减少了电子器件的使用数量,实现了装置的小型化、轻量化。 额定值: 6500V、600A
具有良好的绝缘性能,简化了高压装置的绝缘设计,降低了成本。绝缘耐压:10200Vrms
由于安装外形尺寸与以往的HVIGBT相符,更换器件无需修改设备的设计。
CM600HG-130H 应用领域
电气铁路的主变频器、辅助电源装置
电力系统的电力传输变频装置
工业用大型电动机驱动控制装置
高压脉冲电源装置
CM600HG-130H 今后趋势

大功率电力市场要求装置的小型化、轻量化,HVIGBT模块正在迅速替代传统的GTO模块。为了适应市场需求,正在积极充实耐压等级为6.5kV的系列产品。

CM600HG-130H 性能概要
记号 项目 条件 额定值 单位
VCES 集电极与发射极间电压 Tj =125°C 6500 V
Ic 集电极电流 Tj =25/125°C 600 A
Icp 峰值集电极电流 Tj =25/125°C 1200 A
VCE(sat) 集电极与发射极间饱和电压 Tj =25°C, Ic=600A 5.20 V
VEC 续流二极管正向电压降 Tj =25°C, Ic=600A 3.80 V
Viso 绝缘强度 充电部分~基板间: AC 60Hz, 1分钟 10200 V
Tj 结温 - -40~150 °C
Tstg 保存温度 - -40~125 °C
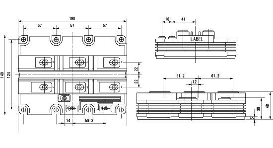
CM600HG-130H 外形尺寸图

CM600HG-130H 外形尺寸图

应用技术支持与电子电路设计开发资源下载
CM600HG-130H 数据手册DataSheet 在线下载.pdf