AAT4621 PC Card Current Limit Interface and Capacitor Charger
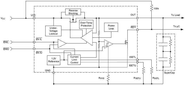
The AAT4621 SmartSwitch family is a current limited P-channel MOSFET power switch designed for high-side load-switching applications in PC Card GSM/GPRS/3G modem cards. Used in conjunction with a super capacitor, the AAT4621 will ensure that the power ratings of the PCMCIA host are not exceeded at any time. Featuring two independent, programmable current limits and a power loop, the AAT4621 can ensure that the super capacitor can be charged without exceeding PCMCIA specifications. The current limit is set by two external resistors allowing a ±10% current limit accuracy over the normal operating temperature range. The switch can be controlled from either of the two enable inputs and in the off condition will block currents in both directions. The AAT4621 also incorporates a System READY function which can advise the system that the super capacitor is fully charged and ready for use. Adjustable hysteresis is provided with the addition of an external resistor. The quiescent supply current is typically a low 40μA. In shutdown mode, the supply current decreases to less than 1μA. The AAT4621 has a current limit range from 75mA to 1200mA; the AAT4621-1 has a current limit range from 150mA to 2400mA. The AAT4621 is available in a thermally enhanced, Pb-free 14-pin TDFN33 package and is specified over the -40°C to 85°C temperature range.
技术特性
- Operating Voltage Range: 3.0V to 5.5V
- Dual Independent Current Limits
- AAT4621: 75mA to 1200mA
- AAT4621-1: 150mA to 2400mA
- ±10% Current Accuracy
- Reverse Current Blocking Protection
- Power Loop
- Low Quiescent Current
- 40μA Typical
- 1.0μA Max with Switch Off
- 65m Typical RDS(ON) at 3V
- System READY Output with Externally Programmable
Hysteresis
- Only 1.4V Needed for Enable Control Pin
- Under-Voltage Lockout
- Over-Temperature Protection
- Temperature Range: -40 to 85°C
- 14-Pin TDFN33 Package
|
订购信息 Ordering Information
应用领域 APPLICATION
- Capacitor Charger
- CF Card Port Power Protection
- Express Card GSM/GPRS/3G Modems
- PC Card GSM/GPRS Class 10/12 Modems
- WiMAX Cards
功能框图 Functional Block Diagram

|