AV101-12LF HIP3™ Variable Attenuator 0.7–1 GHz
The AV101-12LF is a GaAs pHEMT two-bit attenuator I/C. The device is provided in a 3 x 3 mm 12-pin Quad Flat No-Lead (QFN) package. The AV101-12LF is The AV101-12 is a current controlled, variable attenuator from SKYWORKS series of HIP3™ components. It is designed to meet the wide dynamic range required in spread spectrum, wireless base station applications. A monolithic quadrature hybrid is teamed with a silicon PIN diode pair in a plastic surface mount package, reducing size and assuring consistency from part to part.
技术特性
- 50 dBm IP3 typical
- Low loss 1 dB typical
- Attenuation 30 dB typical
- Good VSWR <1.5:1 typical
- Small SOIC-8 package
- Available lead (Pb)-free, RoHS-compliant MSL-1 @ 260 °C per JEDEC J-STD-020
订购信息 Ordering Information
|
应用领域 APPLICATION
- Cellular/3G infrastructure
- IF/RF systems
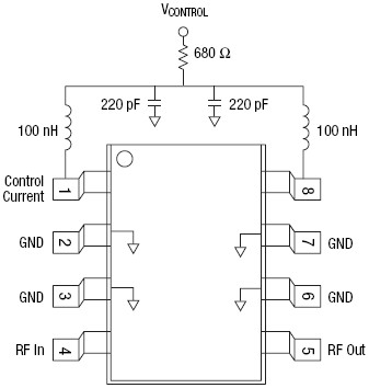
Pin Out

|