AV111-12LF HIP3™Variable Attenuator 0.80–1.00 GHz
The AV111-12 is a current controlled, variable attenuator from SKYWORKS series of HIP3™components. It is designed to meet the wide dynamic range required in spread spectrum, wireless base station applications. A monolithic quadrature hybrid is teamed with a silicon PIN diode pair in a plastic surface mount package reducing size and assuring consistency from part to part. AV111-12LF is packaged in a lead (Pb)-free, fully RoHS-compliant SOIC-8 package and is electrically identical to AV111-12.
技术特性
- 40 dBm IP3 typical
- Low loss 1 dB typical
- Attenuation 30 dB typical
- Good VSWR <1.5:1 typical
- Low phase shift
- Available lead (Pb)-free and RoHS-compliant MSL-1 @ 260 °C
per JEDEC J-STD-020
订购信息 Ordering Information
|
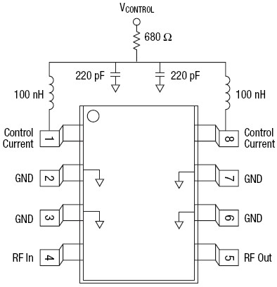
Pin Out

|