AV113-12LF HIP3™Variable Attenuator 2.1–2.3 GHz
The AV113-12 is a current controlled, variable attenuator from SKYWORKS series of HIP3™ components. It is designed to meet the wide dynamic range required in IMT-2000 applications. A monolithic quadrature hybrid is teamed with a silicon PIN diode pair in a plastic surface mount package, reducing size and assuring consistency from part to part. AV113-12LF is packaged in a lead (Pb)-free, fully RoHS-compliant SOIC-8 package and is electrically identical to AV113-12.
技术特性
- Low Loss 1.4 dB typical
- Attenuation 18 dB typical
- Good VSWR <1.5:1 typical
- Small SOIC-8 package
- For IMT-2000 applications
- ailable lead (Pb)-free and RoHS-compliant MSL-1 @ 260 °C
per JEDEC J-STD-020
订购信息 Ordering Information
|
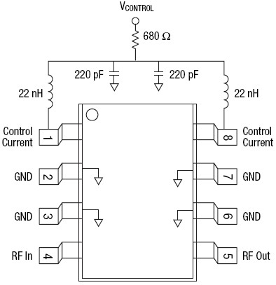
Pin Out

|