SE2521A80 2.4 GHz Wireless LAN Front-End
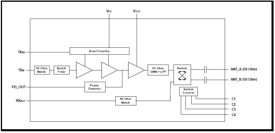
The SE2521A80 is a complete 802.11 b/g WLAN RF front-end module providing all the functionality of the power amplifier, power detector, T/R switch, diversity switch and associated matching. The SE2521A80 provides a complete 2.4 GHz WLAN RF solution from the output of the transceiver to the antennas in an ultra compact form factor. Designed for ease of use, all RF ports are matched to 50 Ω to simplify PCB layout and the interface to the transceiver RFIC. The SE2521A80 also includes a transmitter power detector with 20 dB of dynamic range and a digital enable control for transmitter power ramp on/off control. The power ramp rise/fall time is 1 μsec typical. The SE2521A80 is pin for pin compatible to SKYWORKS’ SE2521A34 for easy transition of medium power designs to higher power designs. The device also provides a notch filter from 3.2-3.3 GHz prior to the input of the power amplifier.
技术特性
- Dual Mode IEEE802.11b & IEEE802.11g
- All RF ports matched to 50 Ω
- Integrated PA, TX Filter, DPDT T/R and Diversity switches
- Integrated Power Detector
- 20 dBm @ 3.0 % EVM, 802.11g, 54 Mbits
- 20 dBm, 802.11b, ACPR = -37 dBr, 11 Mbits
- Single supply voltage: 3.3 V ± 10 %
- Small lead free package, 8 mm x 7 mm x 1.2 mm, MSL 3
应用领域 APPLICATION
- IEEE802.11b DSSS WLAN
- IEEE802.11g OFDM WLAN
- Access Points, PCMCIA, PC cards
|
订购信息 Ordering Information
| Part No. |
Package |
Remark |
| SE2521A80 |
24 pin LGA |
Samples |
| SE2521A80-R |
24 pin LGA |
Tape and Reel |
| SE2521A80-EK1 |
N/A |
Evaluation kit |
功能框图 Functional Block Diagram

|