SE2564L 2.4 GHz High Efficiency Wireless LAN Front-End
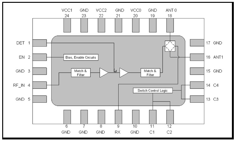
The SE2564L is a complete 802.11bgn WLAN RF front-end module providing all the functionality of the power amplifier, power detector, diversity switch and 50 ohm matching on all RF ports. The SE2564L provides a complete 2.4 GHz WLAN RF solution from the output of the transceiver to the antennas in an ultra compact form factor. The SE2564L is designed for ease of use, with all the critical matching and harmonic filtering and integrated transmit/receive DPDT switch providing a 50 Ω interface to the antenna. The SE2564L also includes a transmitter power detector with 20 dB of dynamic range and a digital enable control for transmitter power ramp on/off control. The power ramp rise/fall time is 0.5 μs typical.
技术特性
- Dual Mode IEEE802.11b, IEEE802.11g, IEEE802.11n
- Integrated PA, TX Filter, Diversity switch
- Integrated Positive Slope Power Detector
- 20 dBm Output Power, 802.11b, 11 Mbits
- 17 dBm @ 3.0 % EVM, 802.11g, 3.3V
- Lead free, halogen free and RoHS compliant
- Small plated package, 3 mm x 4 mm x 0.9 mm, MSL 1
应用领域 APPLICATION
- IEEE802.11b DSSS WLAN
- IEEE802.11g,n OFDM WLAN
- Access Points, PCMCIA, PC cards
|
订购信息 Ordering Information
| Part No. |
Package |
Remark |
| SE2564L |
24 pin LGA |
Samples |
| SE2564L-R |
24 pin LGA |
Tape and Reel |
| SE2564L-EK1 |
N/A |
Evaluation kit |
功能框图 Functional Block Diagram

|