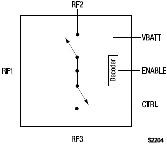
SKY13330-397LF 0.1-6.0 GHz SP2T Switch
The SKY13330-397LF is a CMOS, Silicon-On-Insulator (SOI) Single-Pole, Double-Throw (SP2T) switch. The high linearity and low insertion loss of the SKY13330-397LF make it an ideal choice for WCDMA handset and data card applications. The switch is a “reflective short” on the isolated port.
技术特性
- Broadband frequency range: 0.1 GHz to 6.0 GHz
- Low insertion loss:
− 0.35 dB @ 2.2 GHz
− 0.60 dB @ 6 GHz
- High IP1dB: +39 dBm
- No external DC blocking capacitors required
- Positive low control voltage range: 1.65 V to 2.70 V
- DC supply voltage: 2.3 V to 4.8 V
- Small, QFN (12-pin, 2 x 2 mm) package (MSL1, 260 °C per JEDEC J-STD-020))
订购信息 Ordering Information
|
应用领域 APPLICATION
- WCDMA band and mode switching
- Antenna switch for multimode systems
功能框图 Functional Block Diagram

|