SKY13372-467LF 0.1-6.0 GHz High Isolation SPDT Absorptive Switch
The SKY13372-467LF is a GaAs pHEMT FET high-isolation, absorptive switch. The device is an ideal component for base station applications in which synthesizer isolation is critical
技术特性
- Single, positive voltage control: 0 to 3 and 0 to 5 V
- High isolation 64 dB at 1 GHz and 2 GHz
- Integrated silicon CMOS driver
- Absorptive
- Small, QFN (16-pin, 4 x 4 mm) Pb-free package (MSL1, 260 °C per JEDEC J-STD-020)
订购信息 Ordering Information
|
应用领域 APPLICATION
- GSM, PCS, WCDMA base stations
- 2.4 and 5.8 GHz ISM devices
- Wireless local loops
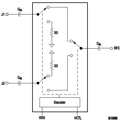
功能框图 Functional Block Diagram

|