SKY13418-485LF 0.1-3.0 GHz SP8T Antenna Switch

The SKY13418-485LF is a Single Pole, Eight-Throw (SP8T) antenna switch. The high linearity performance and low insertion loss achieved by the SKY13418-485LF make it an ideal choice for main/diversity switching commonly used in LTE-based handsets, data cards, and tablets that use antenna diversity solutions. The SKY13418-485LF is part of a scalable family of products that covers SP4T through SP8T switches that allow up to eight bands of WCDMA/LTE. The symmetric port designs provide flexibility in signal routing for both receive diversity and higher power TD-SCDMA/TDD-LTE, WCDMA/FDD, and LTE transmit/receive applications.

技术特性
  • Broadband frequency range: 0.1 to 3.0 GHz
  • Low insertion loss: 0.65 dB typical @ 2.7 GHz
  • High isolation: >20 dB @ 2.7 GHz
  • Integrated logic
  • Small QFN (14-pin, 2.0 x 2.0 mm) package (MSL1, 260 °C per JEDEC J-STD-020)
应用领域 APPLICATION
  • Any 2G/3G/4G antenna diversity or LTE (TDD/FDD) transmit/receive system for which GSM transmit is not required
订购信息 Ordering Information
  • SKY13418-485LF

 

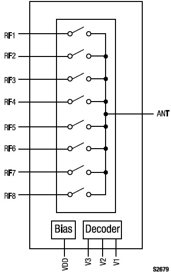
功能框图 Functional Block Diagram

SKY13418-485LF 功能框图

应用技术支持与电子电路设计开发资源下载 版本信息 大小
SKY13418-485LF 数据资料DataSheet下载:pdf Rev.V2 2 页