SKY77562 Tx-Rx FEM for quad-band GSM/GPRS 3-BAND antenna switch support
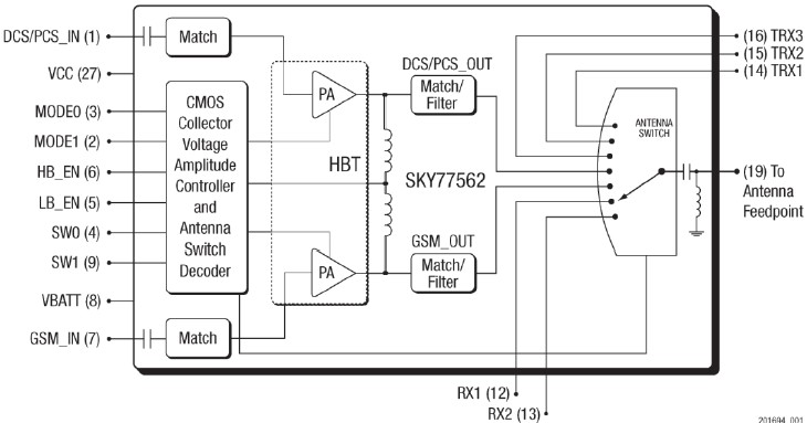
SKY77562 is a transmit and receive Front-End Module (FEM) with Integrated Power Amplifier Control (iPAC™) designed in a low profile, compact form factor for dual-band cellular handsets comprising GSM850/900 and DCS1800/PCS1900 operation. The SKY77562 offers a complete Transmit VCO-to-Antenna and Antenna-to-Receive SAW filter solution. The FEM also supports Class 12 General Packet Radio Service (GPRS) multi-slot operation. The module consists of a GSM850/900 PA block and a DCS1800/PCS1900 PA block, impedancematching circuitry for 50 ohm input and output impedances, Tx harmonics filtering, high linearity / low insertion loss RF switch, and a Power Amplifier Control (PAC) block with internal current sense resistor. Two Heterojunction Bipolar Transistor (HBT) PA blocks, a BiFET PAC, and switch control circuit are fabricated onto a single Gallium Arsenide (GaAs) die. One PA block supports the GSM850/900 bands and the other PA block supports the DCS1800/PCS1900 bands. Both PA blocks share common power supply pads to distribute current. The output of each PA block and the outputs to the two receive pads are connected to the antenna pad through an RF switch. The GaAs die, Switch die and passive components are mounted on a multi-layer laminate substrate. The assembly is encapsulated with plastic overmold.
技术特性
- Small, low profile package
- 6 mm x 6 mm x 0.9 mm
- 28-pad configuration
- High efficiency
- GSM LB
- 47% high power
- 29% mod power
- 15%loe power
- 5% ultra-low power
- High efficiency
- GSM HB
- 44% high power
- 29% mod power
- 15%loe power
- 5% ultra-low power
- Tx–VCO-to-antenna and antenna-to-Rx-SAW filter RFinterface
|
订购信息 Ordering Information
应用领域 APPLICATION
- Quad-band cellular handsets encompassing
- Class 4 GSM850/900
- Class 1 DCS1800/PCS1900
- Class 12 GPRS multi-slot operation
- 3-band WCDMA antenna switch support
功能框图 Functional Block Diagram

|