SKY77745 Dual-Band PA Module for CDMA2000/WCDMA / HSDPA Band I (1920–1980 MHz) and Band V (824–849 MHz)
The SKY77745 Power Amplifier Module (PAM) is a fully matched, 14-pad, surface mount module developed for Wideband Code Division Multiple Access (WCDMA) applications. This small and efficient module packs full WCDMA Band I and Band V coverage into a single compact package. The SKY77745 meets the stringent spectral linearity requirements of WCDMA transmission, with high power added efficiency for power output to 28.25 dBm (Band I and Band V). The SKY77745 meets the stringent spectral linearity requirements of High Speed Downlink Packet Access (HSDPA) data transmission with high power added efficiency. A directional coupler is integrated into the module thus eliminating the need for any external coupler. The single Gallium Arsenide (GaAs) Microwave Monolithic Integrated Circuit (MMIC) contains all active circuitry in the module. The MMIC contains on-board bias circuitry, as well as input and interstage matching circuits. Output match into a 50-ohm load is realized off-chip within the module package to optimize efficiency and power performance. The SKY77745 PAM is manufactured with SKYWORKS’ InGaP GaAs Heterojunction Bipolar Transistor (HBT) BiFET process that provides for all positive voltage DC supply operation while maintaining high efficiency and good linearity. No VREF voltage is required. Power down is accomplished by setting the voltage on VENABLE to zero volts. No external supply side switch is needed as typical “off” leakage is a few microamperes with full primary voltage supplied from the battery.
技术特性
- Low voltage positive bias supply: 3.2 V to 4.2 V
- Good linearity
- High efficiency
- Band I 47% @ 28.3 dBm
- Band VIII 47% @ 28.5 dBm
- Large dynamic range
- Small, low profile package
- 4mm x 3 mm x 0.9 mm
- 16-pad configuration
- Power down control
- InGaP
- Supports low collector voltage operation
- Digital Enable
- No VREF required
- CMOS compatible control signals
- Integrated Directional Coupler
|
应用领域 APPLICATION
- WCDMA handsets
- CDMA2000
- EVDO
- HSDPA
- HSUPA
订购信息 Ordering Information
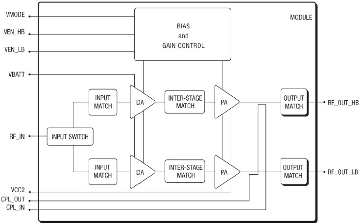
功能框图 Functional Block Diagram

|