856526 SMI WiMAX芯片组

The TriQuint 856526 is a high rejection Intermediate Frequency (IF) filter for use in wideband wireless communications systems. The center frequency of this filter is 153.6 MHz and the bandwidth is 32 MHz. The insertion loss is 13 dB maximum and the filter is packaged in a hermetic surface-mounted package.

技术特性
  • Usable bandwidth of 10 MHz
  • High attenuation
  • No impedance matching required for operation at 50 Ohm
  • Single-ended operation
  • Ceramic Surface Mount Package (SMP)
  • Hermetic
  • RoHS compliant (2002/95/EC), lead-free
订购信息 Ordering Information
856526 产品实物图

856526 产品实物图

应用领域 APPLICATION
  • WiMAX
技术指标
频率(MHz) 带宽 (MHz) 插入损耗 (dB) 操作模式 封装(mm)
810 10 5 SE 3 x 3
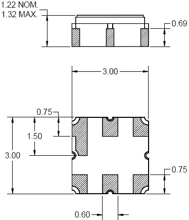
封装外形Package Outline
856526 封装外形
应用技术支持与电子电路设计开发资源下载 版本信息 大小
856526:S 参数Narrow Unmatched    
856526:S 参数Wide Unmatched    
856526 数据资料DataSheet下载:PDF Rev.V2 2 页