TGA4036 19-38 GHz 中功率放大器

The TriQuint TGA4036 is a compact medium power amplifier MMIC for wide band applications. The part is designed using TriQuint's proven standard 0.25 um power pHEMT production process. The part provides a nominal 20 dB gain from 19 - 36 GHz, with saturated output power of 22 dBm. The part is ideally suited for low cost emerging markets such as point-to-point radio, point-to-multipoint communications and instrumentation. The TGA4036 is 100% DC and RF tested on-wafer to ensure performance compliance. Evaluation boards are available upon request.

技术特性
  • Frequency range: 19 to 38 GHz
  • 20 dB nominal gain
  • 22 dBm nominal Psat
  • 30 dBm nominal TOI
  • Bias: 5 V, 160 mA (210 mA @ P1dB)
  • 0.25 um 3MI pHEMT technology
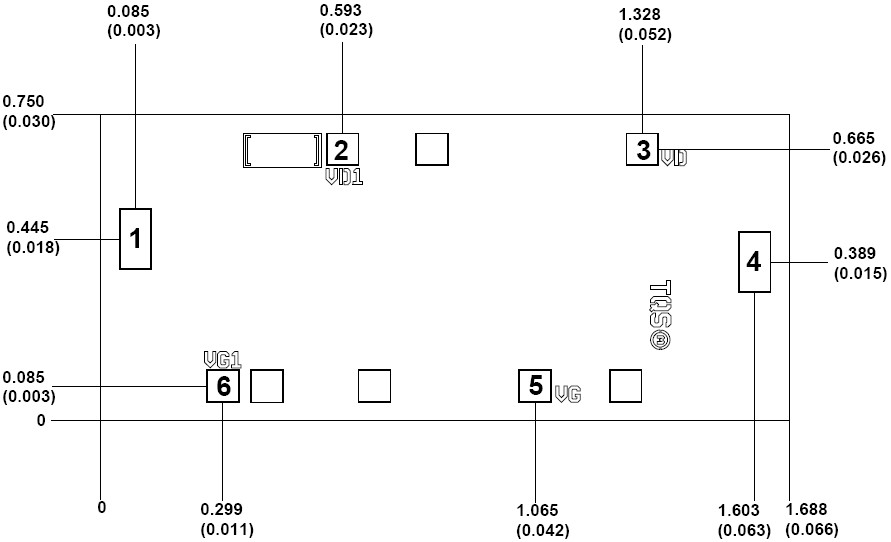
  • Chip dimensions: 1.69 x 0.75 x 0.10 mm (0.066 x 0.030 x 0.004 in)
订购信息 Ordering Information
  • TGA4036
应用领域 APPLICATION
  • Instrumentation
  • Point-to-Multipoint Radio
  • Point-to-Point Radio
技术指标
频率(GHz) 功率(dBm) 增益(dB) NF/PAE +V IQ(mA)
19-38 22 20 - 5 160
机械图样Mechanical Drawing
TGA4036 机械图样
应用技术支持与电子电路设计开发资源下载 版本信息 大小
TGA4036:S 参数    
TGA4036 数据资料DataSheet下载:PDF Rev.V2 2 页