TGA4531 K-波段高线性功率放大器

The TriQuint TGA4531 is high linearity power amplifier for K band applications. The part is designed using TriQuint's proven standard 0.25 um gate Power pHEMT production process. The TGA4531 provides a nominal 32 dBm of output power at an input power level of 15 dBm with a small signal gain of 23 dB. Nominal TOI is 40 dBm and noise figure is 6 dB. The part is ideally suited for low cost emerging markets such as point-to-point radio, and K band satellite communications

技术特性
  • Frequency range: 17 to 24 GHz
  • Power: 32 dBm Psat, 31 dBm P1dB
  • Gain: 23 dB
  • TOI: 40 dBm
  • NF: 6 dB
  • Return loss: -15 dB
  • Bias: Vd = 7 V, Id = 720 mA, Vg = -0.65 V typical
  • Technology: 3MI 0.25 um mmw Power pHEMT
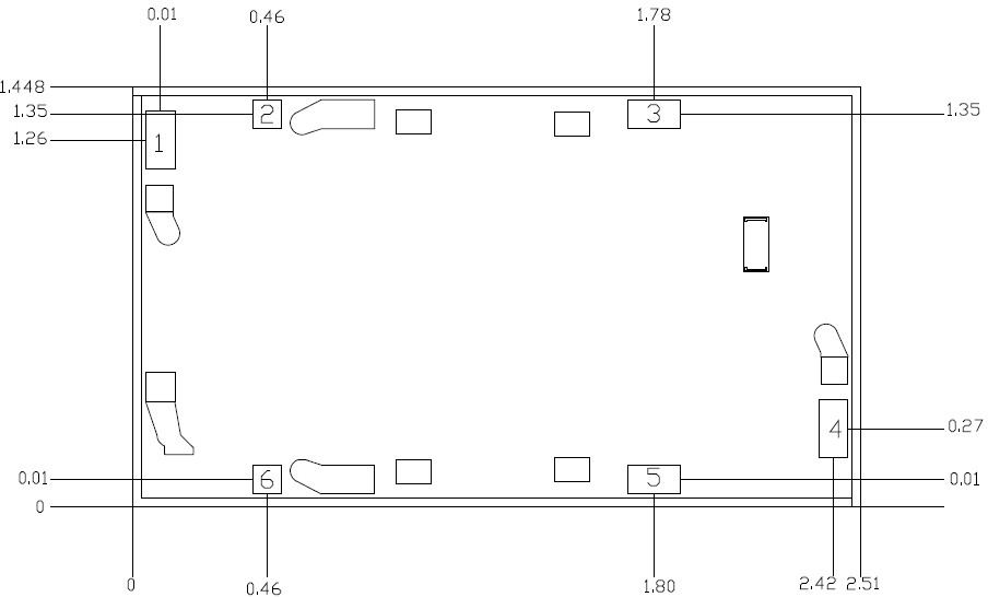
  • Chip dimensions: 2.51 x 1.45 x 0.1 mm
订购信息 Ordering Information
Part Package Style
TGA4531 GaAsMMIC Die

 

技术指标
频率(GHz) 功率(dBm) 增益(dB) NF/PAE +V IQ(mA)
17 - 24 32dBm 23dB 6 7 720
应用领域 APPLICATION
  • Point-to-Point Radio
  • K-Band Sat-Com
机械图样Mechanical Drawing
TGA4531 机械图样
应用技术支持与电子电路设计开发资源下载 版本信息 大小
TGA4531:S 参数    
TGA4531 数据资料DataSheet下载:PDF Rev.V2 2 页