技术特性
- Usable bandwidth of 11 MHz
- Low loss
- High attenuation
- Single-ended operation
- No impedance matching required for operation at 50 Ohm
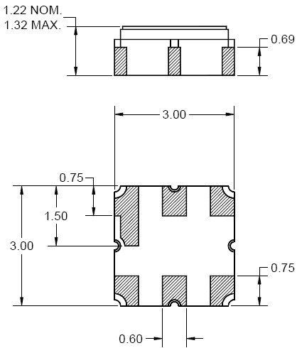
- Ceramic Surface Mount Package (SMP)
- Hermetic
- RoHS compliant (2002/95/EC), lead-free
技术指标
| 频率(MHz) |
带宽 (MHz) |
插入损耗 (dB) |
操作模式 |
封装(mm) |
| 751.5 |
11 |
1.5 typ. |
SE/SE |
3x3 |
856794 产品实物图

|
订购信息 Ordering Information
封装外形Package Outline
 |